来源:长沙网站建设|2021-03-10 12:15:41
最近又有朋友让我分析一下企查查,本着分享知识的原则、那就以本人浅薄的认知与见识、给大家讲讲企查查的SEO亮点,希望可以帮助更多的兄弟理解SEO本质!

之前也分析过顺企网、分析过58同城、喜欢的可以看下,58同城的词库个人感觉更泛一点、而企查查的更加精准一点,顺企网的词相比上面两者,更加杂一点,业务不同、词库不同,不分高低。
很多人SEO做到现在,依然认为原创才是SEO核心。企查查算是对这种观点最大的一个否认。因为企查查上面的信息基本来讲、都是采集的。
但采集的内容目测应该是调用国家的数据库、因为中国每个企业的信息、应该没那么好采集,就算采集的话、也有不准的情况,因为非权威网站上的企业信息信任度比较低。唯有国家信息、才能准确。
内容解决了、企查查在用户体验、模板方面都做的比较到位,在之前的课程中我们也讲过、影响网站排名和收录的因素,模板也是其中之一。

大型网站做到最后、绝对都是量级的比拼。决定权重的是词库、决定词库的是收录。这种量级的收录绝对不是几十个人、或几百个人可以做到的。

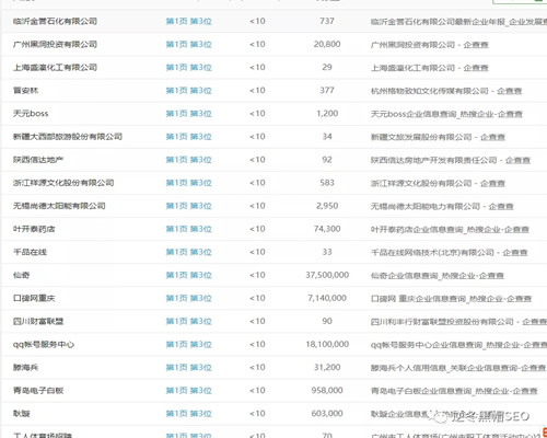
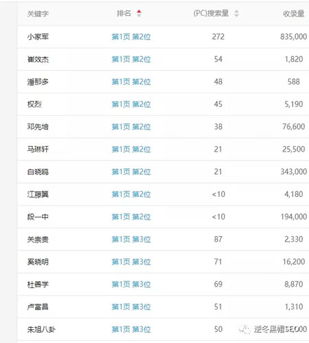
词库的定位与业务有直接关系,不过企查查的词库、要比58同城的词库、单就竞争度来讲、要小很多。企查查的词库一般以【企业名】【法人名、股东名】为主,而58则以本地类的服务为主,比如XXX搬家、XXXX租车,大家自然明白、关键词难易程度。
不过词库定位精准,客户就会精准很多。当你的量级达到千万级、上亿级时、长尾所带来的流量相当恐怖,而由这些恐怖流量每天访问网站、信任度的提升也绝非一般小站可比。
就像之前聊58一样,品牌流量作为源,带动了网站整体的信任度,信任度高了之后,长尾流量来了,又回馈网站,周而复始,良性循环!
其实为啥要分析企查查呢?因为企查查的词库难度相对来讲比较低。我们可以导出他的词库,来做权重站!
比如之前我做过的人名站、大家可以做公司名站、或是其他站,毕竟词库有了,内容这一块、聚合一下,哪怕随机生成,起个权重、还是分分钟。

作者:黑帽SEO逆冬 公众号:逆冬黑帽SEO